BLOGブログ
【キャプチャ画像有】Meta Horizon Managed Services (HMS) でミラーリングする方法
企業の研修やイベント運営、開発デモンストレーションなどでMeta Questデバイスを多数運用する際、「Meta Horizon Managed Services (HMS)」は非常に強力なモバイルデバイス管理(MDM)ソリューションです。
HMSには多くの管理機能がありますが、今回はその中でも特に利用頻度の高い「ミラーリング機能」に絞って、キャプチャ画像付きで詳しく解説します。
HMSについての詳しい説明はこちらから。
目次
HMSミラーリングの圧倒的なメリット
まず、HMSを使ったミラーリングが、個人利用の一般的なミラーリング(oculus.com/casting)と何が違うのか、そのメリットを解説します。
メリット1:ネットワークの制約がない
これが最大のメリットです。 通常のミラーリングは、QuestとPCが「同じWi-Fiネットワーク」に接続されている必要がありました。
HMSのミラーリングは、PCとMetaQuestがインターネットにさえ接続されていれば、それぞれが全く別のネットワーク(例えば、PCは東京のオフィス、Questは大阪の会場)にあってもミラーリングが可能です。
メリット2:管理PCから複数のデバイスを同時ミラーリング
HMSの「Facilitator Suite」という機能を利用することで、管理者は最大48台のデバイスの画面を同時にPCブラウザに表示させることができます。 イベント参加者全員の視界を一覧で確認する、といった高度な運用が可能になります。
※ 共有モードのデバイスは、48台同時ミラーリング機能に対応していません。個人モードのデバイスのみが対象です。
メリット3:管理PC側からミラーリングを開始できる
通常のミラーリングはデバイス(Quest側)から操作を開始しますが、HMSでは管理PC側から「このデバイスのミラーリングを開始する」というリクエストを送信できます。(デバイス側での承認は必要です)
やり方1:管理センター(PC側)からミラーリングを開始する方法
まずは、管理者側からミラーリングを開始する手順です。
- 管理用PCでHMS管理センターにアクセスしてログインし、[デバイス]タブから[Facilitator Suite]を選択し、[アプリを開く]をクリックします。

PC画面
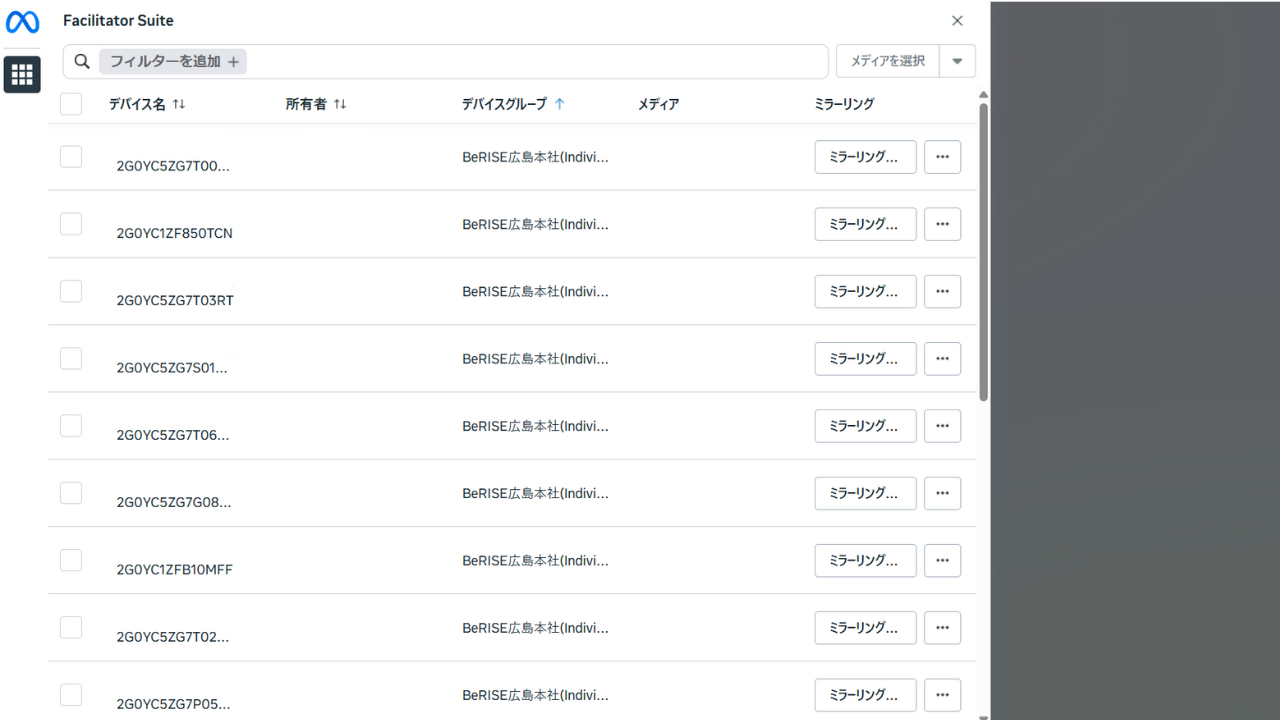
- 別ウィンドウで「Facilitator Suite」が開きます。現在オンラインになっているデバイスが一覧表示されます。

PC画面
- ミラーリングしたいデバイスにチェックを入れ、[ミラーリング…]ボタンをクリックします。
・複数台同時の場合は、対象デバイスすべてにチェックを入れ、[今すぐ開始(〇台)] を選択します。

PC画面
- ミラーリング対象に選ばれたQuestデバイス側に「承認」を求めるウィンドウが表示されます。

MetaQuest画面
- デバイス側で[承認する]を選択します。
PC側の「Facilitator Suite」の画面内に、選択したデバイスのミラーリング映像が表示されます。複数選択した場合は、画面が分割されて同時に表示されます。
PC画面
やり方2:デバイス(Quest側)からミラーリングを開始する方法
次に、Questデバイス側を操作してPCブラウザにミラーリングする手順です。
- 管理用PCでHMS管理センターにアクセスしてログインをします。
- Questデバイスの「クイック設定」パネルを開き、「ミラーリング」を選択します。

MetaQuest画面
- ミラーリング先に「ウェブ」を選択し、「次へ」をクリックします。

MetaQuest画面
- PCのブラウザで、ミラーリング先のウェブサイトURLにアクセスします。 (oculus.com/casting/〇〇 )
URLはHMSの管理センターの以下設定画面で事前にカスタム設定が可能です。
組織のミラーリングリンクはMetaアカウントのログイン不要でアクセスできます。
- Questデバイスの画面に暗証番号(6桁の英数字)が表示されます。

MetaQuest画面
- PCブラウザ側の画面に、そのコードを入力します。

PC画面
- 接続が確立され、PCブラウザにQuestの映像がミラーリングされます。

PC画面
- URLとコードをコピーして共有することで複数人でミラーリングされた画面を見ることもできます。
まとめ
このように、Meta Horizon Managed Services (HMS) を利用したミラーリングは、個人向けの簡単なミラーリングとは一線を画す、強力な法人向け機能です。
特に「ネットワークの制約がない(遠隔ミラーリング可能)」、「多台数を同時に一覧表示できる」という点は、イベントや研修、遠隔サポート業務の効率を劇的に改善します。
HMSをご契約の方は、ぜひこの便利なミラーリング機能を活用してみてください。
HMS単品での購入も可能です!
「HMSに興味があるけれど、導入方法が分からない」「まずはHMS単品で購入したい」といったご相談も承っております。
下記のリンクより、お気軽にお問い合わせください。
→ お問い合わせはこちら
サービスのご紹介
ビーライズは、非接触のバーチャルイベント、仮想空間での次世代型トレーニング、今までにない体験コンテンツなど、「デジタルならではの体験」を開発・実装しています。サービスの詳細や弊社の会社案内についてはこちらからダウンロードください。
資料のダウンロードはこちらPROFILE
- 株式会社 ビーライズBeRISE
- 株式会社ビーライズは、「デジタルで明日を変えよう」をビジョンにかかげ、XR領域でバーチャルワールド活用サービスを提供するテクノロジーカンパニーです。リアルな3DCGとアプリケーション・web開発、アイデアを組み合わせた最先端ソリューション開発を強みとしています。